李佳琦公司申请所有女生商标被驳回 李佳琦公司美ONE合同细则曝光
DoNews
2023-10-25 13:50:11
0

原标题:李佳琦公司申请所有女生商标被驳回 李佳琦公司美ONE合同细则曝光

近日,因海氏烤箱价格事件,美腕和李佳琦再次陷入争议。

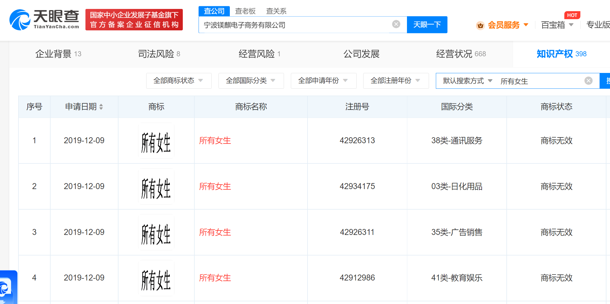
天眼查App显示,由李佳琦和美腕共同持股的宁波镁麒电子商务有限公司,曾在2019年12月申请注册多枚“所有女生”商标,国际分类包括广告销售、日化用品等,当前上述商标均被驳回,处于无效状态。今年2月,美腕(上海)网络科技有限公司申请多枚“所有女生”商标,当前商标状态也均为驳回复审中。据悉,“所有女生”为李佳琦口头禅。

相关内容

热门资讯

勇士迎来主场甜蜜期!科尔:抓住... 就在刚刚结束的一场NBA常规赛中,金州勇士以132-125战胜了黄蜂队。赛后,勇士主帅史蒂夫·科尔在...
瑞士酒吧爆炸事件暂无嫌疑人被捕... 本文转自【央视新闻客户端】; 当地时间2026年1月1日,瑞士南部瓦莱州警方证实,该州阿尔卑斯山区滑...
联合国秘书长发表声明 谴责叙利... △联合国秘书长古特雷斯(资料图) 当地时间12月26日,联合国秘书长古特雷斯通过发言人发表声明,强烈...
瑞士滑雪胜地爆炸,致10死10... 据CCTV国际时讯报道,据英国天空新闻台援引瑞士警方消息报道,当地时间今天(1月1日)凌晨,瑞士阿尔...
青岛保时捷女销售2025年再夺... 12月31日,据青岛新闻网报道,青岛保时捷销售牟倩文发文收官2025:所愿必得如愿以偿,今天是202...
广州“小孩哥”坐地铁上学沉睡到... 近日,一则视频在网络引发关注。视频中,一名穿着校服的广州“小孩哥”坐在地铁地板上呼呼大睡被叫醒,醒来...
“罗生门”搅动俄乌局势,普京官... 据央视新闻报道,当地时间12月29日,俄罗斯外长拉夫罗夫率先披露,称乌克兰在28日深夜至29日凌晨,...
沪指9连阳,9只基金单日涨超4... 12月29日,三大指数涨跌不一,沪指微涨走出九连阳,创业板指一度跌超1%。机器人、碳纤维概念表现活跃...
跨年冷空气携大范围雨雪来袭 中... 中国天气网讯 今天(12月30日)至元旦假期,一股跨年冷空气来袭,它降温实力强,影响范围广,南下和暖...
明年起我国调整部分商品关税,将... 每逢年末,我国会根据经济社会发展情况,对部分进出口商品的关税税率税目进行调整。29日,国务院关税税则...
王行环被查!此前被撤销全国政协... 12月29日,据湖北省纪委监委消息:武汉大学中南医院原党委常委、院长王行环涉嫌严重违纪违法,目前正接...
重庆南岸区一街头直饮水点变“取... 新京报记者 贺俊怡 制作 礼牧周 ▲新京报我们视频出品(ID:wevideo) 12月28日,重庆南...
13岁女孩乘网约车投奔熟人后失... 新京报记者 贺俊怡 制作 罗伟伟 12月29日,贵州贵安新区马场镇居民喻先生反映,其13岁女儿自23...
王毅会见泰国外长西哈萨 12月28日,中共中央政治局委员、外交部长王毅在云南玉溪会见泰国外长西哈萨。中新社记者 张祥毅 摄
关于“微信占内存”,官方回应了 “微信派”公众号 12月29日,微信官方公众号“微信派”发布文章,回应关于“微信占存储空间”的说法,...
现场画面!中柬泰三方,发表新闻... 据外交部网站消息,2025年12月29日,中柬泰外长会晤在云南玉溪成功举行。中共中央政治局委员、外交...
国投白银LOF盘中巨震,跌停价... 历经连续三日涨停与接连两日跌停的极端行情后,国投白银LOF周一早盘再度巨震。 12月29日上午,国投...
舰机多向抵近台岛,东部战区位台... 东部战区新闻发言人施毅陆军大校表示,12月29日开始,中国人民解放军东部战区组织陆军、海军、空军、火...