
中证智能财讯 华致酒行(300755)10月25日披露2023年三季报。2023年前三季度,公司实现营业总收入82.53亿元,同比增长10.33%;归母净利润2.31亿元,同比下降34.69%;扣非净利润1.76亿元,同比下降48.32%;经营活动产生的现金流量净额为3.89亿元,同比增长217.64%;报告期内,华致酒行基本每股收益为0.55元,加权平均净资产收益率为6.19%。

公告显示,公司前三季度营业收入变化主要由于“买真酒到华致”、“买名酒到华致”的保真连锁品牌效应持续扩大,公司连锁门店分销能力得到进一步提升;对市场需求研判精准,春节销售旺季备货充足,营销工作调度有序;精品酒产品矩阵不断丰富,名酒供应链体系持续健全。
以10月24日收盘价计算,华致酒行目前市盈率(TTM)约为32.21倍,市净率(LF)约为2.07倍,市销率(TTM)约为0.83倍。

公司近年市盈率(TTM)、市净率(LF)、市销率(TTM)历史分位图如下所示:



根据三季报,公司第三季度实现营业总收入23.86亿元,同比增长13.35%,环比增长12.34%;归母净利润8002.99万元,同比增长144.76%,环比增长61.02%;扣非净利润3355.13万元,同比增长19.45%,环比下降22.30%。

2023年前三季度,公司毛利率为11.00%,同比下降3.03个百分点;净利率为2.90%,较上年同期下降1.86个百分点。从单季度指标来看,2023年第三季度公司毛利率为10.43%,同比下降2.03个百分点,环比下降2.48个百分点;净利率为3.45%,较上年同期上升1.89个百分点,较上一季度上升0.99个百分点。

数据显示,2023年前三季度公司加权平均净资产收益率为6.19%,较上年同期下降3.83个百分点;公司2023年前三季度投入资本回报率为4.93%,较上年同期下降3.70个百分点。

2023年前三季度,公司经营活动现金流净额为3.89亿元,同比增长217.64%;筹资活动现金流净额-1.70亿元,同比减少5.34亿元;投资活动现金流净额-792.35万元,上年同期为-1.63亿元。
进一步统计发现,2023年前三季度公司自由现金流为10.84亿元,相比上年同期增长191.72%。

2023年前三季度,公司营业收入现金比为105.52%,净现比为168.50%。

2023年前三季度,公司期间费用为6.79亿元,较上年同期增加6695.08万元;期间费用率为8.23%,较上年同期上升0.05个百分点。其中,销售费用同比增长7.6%,管理费用同比增长20.88%,财务费用同比增长42.03%。
资料显示,财务费用的变动主要因为本期存量贷款增加导致利息费用开支增加。

资产重大变化方面,截至2023年三季度末,公司货币资金较上年末增加72.00%,占公司总资产比重上升12.52个百分点;预付款项较上年末减少41.89%,占公司总资产比重下降11.65个百分点;存货较上年末减少15.70%,占公司总资产比重下降2.86个百分点;应收账款较上年末增加34.42%,占公司总资产比重上升1.68个百分点。

负债重大变化方面,截至2023年三季度末,公司合同负债较上年末减少85.62%,占公司总资产比重下降6.52个百分点,主要系预收客户的货款减少;应付票据较上年末减少9.71%,占公司总资产比重下降0.10个百分点;短期借款较上年末减少10.32%,占公司总资产比重下降0.18个百分点,主要系本期偿还期初贷款;应付账款较上年末减少68.77%,占公司总资产比重下降0.94个百分点,主要系本期支付年初应付供应商的货款。

在偿债能力方面,公司2023年三季度末资产负债率为49.12%,相比上年末下降6.83个百分点;有息资产负债率为16.22%,相比上年末下降0.08个百分点。

2023年前三季度,公司流动比率为1.92,速动比率为1.14。

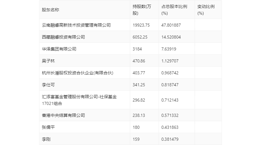
三季报显示,2023年三季度末公司十大流通股东中,新进股东为张儒平、李刚,取代了上半年末的张洁涛、马宁。在具体持股比例上,李仕可、香港中央结算有限公司持股有所上升。

筹码集中度方面,截至2023年三季度末,公司股东总户数为2.3万户,较上半年末增长了1876户,增幅8.87%;户均持股市值由上半年末的44.29万元下降至37.86万元,降幅为14.52%。

指标注解:
市盈率
=总市值/净利润。当公司亏损时市盈率为负,此时用市盈率估值没有实际意义,往往用市净率或市销率做参考。
市净率
=总市值/净资产。市净率估值法多用于盈利波动较大而净资产相对稳定的公司。
市销率
=总市值/营业收入。市销率估值法通常用于亏损或微利的成长型公司。
文中市盈率和市销率采用TTM方式,即以截至最近一期财报(含预报)12个月的数据计算。市净率采用LF方式,即以最近一期财报数据计算。
市盈率为负时,不显示当期分位数,会导致折线图中断。
下一篇:国际油价短线跳水