
中证智能财讯 星昊医药(430017)10月20日披露2023年三季报。2023年前三季度,公司实现营业总收入5.20亿元,同比增长28.84%;归母净利润7278.73万元,同比增长34.85%;扣非净利润4684.98万元,同比增长56.73%;经营活动产生的现金流量净额为1.20亿元,同比增长120.59%;报告期内,星昊医药基本每股收益为0.69元,加权平均净资产收益率为5.68%。
报告期内,公司合计非经常性损益为2593.74万元,其中计入当期损益的政府补助为2618.50万元,所得税影响数为-463.01万元。

公告显示,归母净利润变化主要由于年初至报告期末营业收入增加。
以10月20日收盘价计算,星昊医药目前市盈率(TTM)约为12.3倍,市净率(LF)约为0.83倍,市销率(TTM)约为1.71倍。

公司近年市盈率(TTM)、市净率(LF)、市销率(TTM)历史分位图如下所示:



根据三季报,公司第三季度实现营业总收入1.89亿元,同比增长39.23%,环比增长2.27%;归母净利润1938.5万元,同比增长152.93%,环比下降39.94%;扣非净利润565.66万元,同比增长987.91%,环比下降77.76%。

2023年前三季度,公司毛利率为75.90%,同比上升0.36个百分点;净利率为14.03%,较上年同期上升0.69个百分点。从单季度指标来看,2023年第三季度公司毛利率为76.20%,同比下降0.21个百分点,环比上升0.45个百分点;净利率为10.26%,较上年同期上升4.80个百分点,较上一季度下降7.72个百分点。

数据显示,2023年前三季度公司加权平均净资产收益率为5.68%,较上年同期增长0.55个百分点;公司2023年前三季度投入资本回报率为5.41%,较上年同期增长0.31个百分点。

2023年前三季度,公司经营活动现金流净额为1.20亿元,同比增长120.59%,主要系年初至报告期末营业收入增长使销售商品、提供劳务收到的现金增加所致;筹资活动现金流净额3.29亿元,同比增加3.49亿元,主要系收到上市募集资金所致;投资活动现金流净额-2.33亿元,上年同期为-1.03亿元,主要系年初至报告期末购买理财产品增长所致。
进一步统计发现,2023年前三季度公司自由现金流为-6832.22万元,上年同期为-7218.80万元。

2023年前三季度,公司营业收入现金比为121.51%,净现比为164.36%。

营运能力方面,2023年前三季度,公司公司总资产周转率为0.32次,上年同期为0.30次(2022年前三季度行业平均值为0.33次,公司位居同行业64/111);公司应收账款周转率、存货周转率分别为5.87次、1.85次。

2023年前三季度,公司期间费用为3.45亿元,较上年同期增加7333.34万元;但期间费用率为66.31%,较上年同期下降0.94个百分点。其中,销售费用同比增长18.28%,管理费用同比增长10.52%,研发费用同比增长101.09%,财务费用由去年同期的-4.55万元变为-280.89万元。
资料显示,财务费用的变动主要因为年初至报告期末内收到募投资金账户的利息收入;研发费用的变动主要因为年初至报告期末内公司为提高研发实力、推进研发进度,加大研发人员、研发设备、研发材料、临床试验等方面投入。

资产重大变化方面,截至2023年三季度末,公司固定资产较上年末减少4.31%,占公司总资产比重下降12.49个百分点;货币资金较上年末增加225.55%,占公司总资产比重上升10.34个百分点;交易性金融资产较上年末增加89.88%,占公司总资产比重上升7.53个百分点;一年内到期的非流动资产较上年末减少100.00%,占公司总资产比重下降2.87个百分点。

负债重大变化方面,截至2023年三季度末,公司应付账款较上年末增加100.22%,占公司总资产比重上升1.47个百分点,主要系年初至报告期末内的原料款和研发的临床试验费未支付;长期递延收益较上年末减少9.49%,占公司总资产比重下降2.96个百分点;应交税费较上年末减少55.76%,占公司总资产比重下降1.09个百分点;应付职工薪酬较上年末减少54.14%,占公司总资产比重下降0.61个百分点。

在偿债能力方面,公司2023年三季度末资产负债率为17.90%,相比上年末下降3.30个百分点;有息资产负债率为0.55%,相比上年末上升0.55个百分点。

2023年前三季度,公司流动比率为4.69,速动比率为4.31。

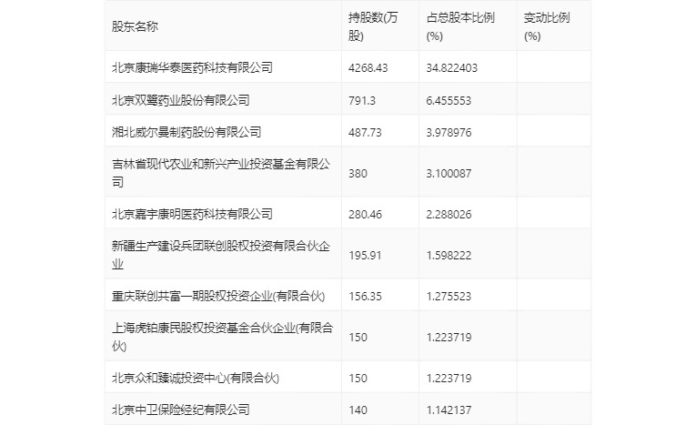
三季报显示,2023年三季度末的公司十大股东中,持股最多的为北京康瑞华泰医药科技有限公司,占比34.822%。在具体持股比例上,新疆生产建设兵团联创股权投资有限合伙企业持股有所下降。

筹码集中度方面,截至2023年三季度末,公司股东总户数为1.35万户,较上半年末下降了2467户,降幅15.44%;户均持股市值由上半年末的7.66万元上升至9.72万元,增幅为26.89%。

指标注解:
市盈率
=总市值/净利润。当公司亏损时市盈率为负,此时用市盈率估值没有实际意义,往往用市净率或市销率做参考。
市净率
=总市值/净资产。市净率估值法多用于盈利波动较大而净资产相对稳定的公司。
市销率
=总市值/营业收入。市销率估值法通常用于亏损或微利的成长型公司。
文中市盈率和市销率采用TTM方式,即以截至最近一期财报(含预报)12个月的数据计算。市净率采用LF方式,即以最近一期财报数据计算。
市盈率为负时,不显示当期分位数,会导致折线图中断。