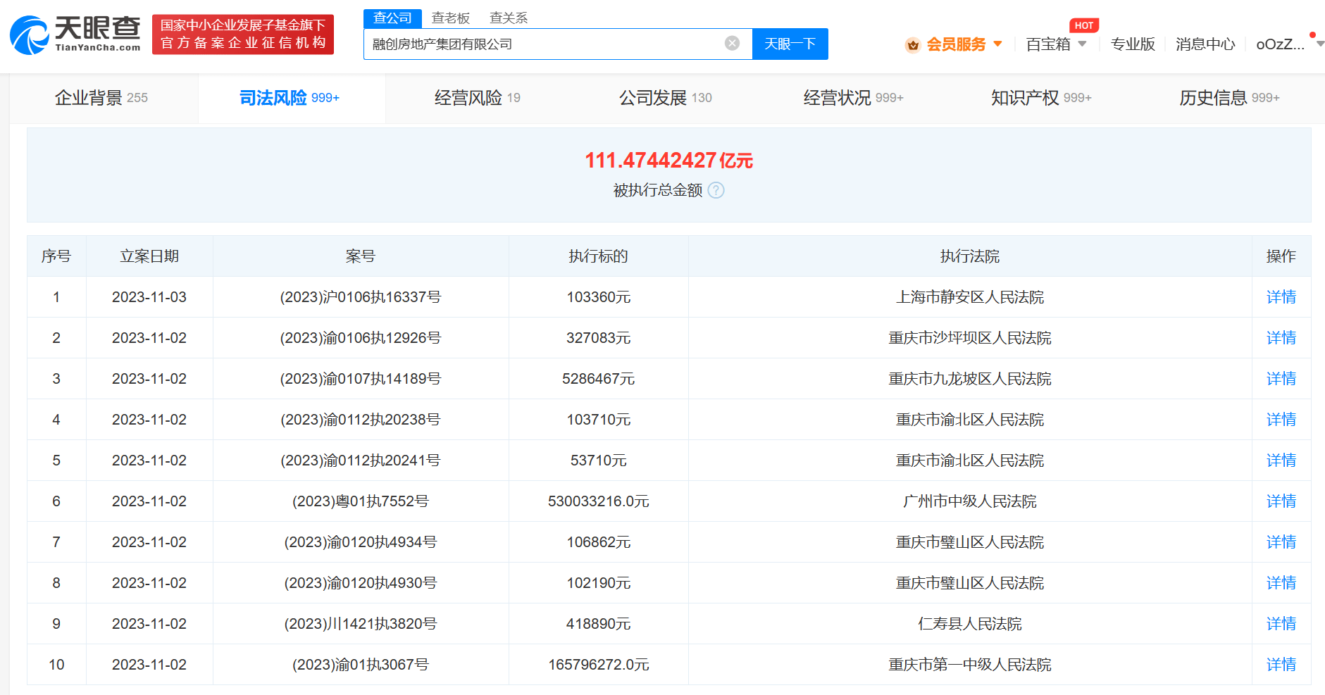
天眼查App显示,11月2日、3日,融创房地产集团有限公司新增多条被执行人信息,执行标的合计7.1亿余元,涉及金融借款合同纠纷、票据纠纷、票据追索权纠纷等,执行法院为广州市中级人民法院、重庆市第一中级人民法院等。
风险信息显示,融创房地产集团有限公司现存600余条被执行人信息,被执行总金额超百亿。此外,该公司还存在多条限制消费令、失信被执行人(老赖)和终本案件信息。



本文转载自天眼查,转载目的在于传递更多信息,并不代表本站赞同其观点和对其真实性负责。如涉及作品内容、版权和其它问题,请联系天眼查通知我方删除,我方将在收到通知后第一时间删除内容!本文只提供参考并不构成任何投资及应用建议。本站拥有对此声明的最终解释权。