10月24日,打假人王海发布视频,消费者在李佳琦直播间购买“鸳鸯金楼”和田玉项链,鉴定结果为“碳酸盐-透闪石质玉项链”,根本不是和田玉。
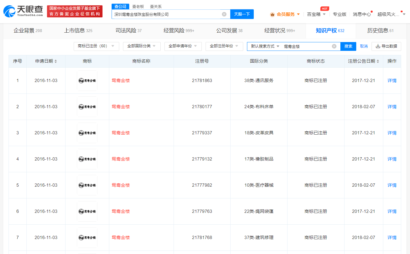
天眼查App显示,深圳鸳鸯金楼珠宝股份有限公司成立于2013年11月,法定代表人为吴德荣,注册资本1.07亿人民币,经营范围包括从事珠宝首饰设计创意及计算机辅助设计、珠宝首饰工艺及创意咨询、珠宝首饰机制工艺、珠宝首饰展示设计等,由深圳前海鸳鸯金楼投资管理合伙企业(有限合伙)、吴德荣、深圳翁氏投资有限公司等共同持股。对外投资信息显示,该公司全资持股3家公司,均为存续状态。知识产权信息显示,该公司已成功注册多个“鸳鸯金楼”商标。
值得一提的是,抚州市一珠宝行曾因销售“鸳鸯金楼”产品被罚。处罚详情显示,该珠宝行从批发市场购进“鸳鸯金楼”足金氧化锆戒指、足铂合成锆石戒指,生产商为深圳鸳鸯金楼珠宝股份有限公司,据江西省金银珠宝首饰质量监督检验站出具的抽样检验报告显示,上述产品样品被判定为不合格。


